У нас вы можете купить продукцию немецкой компании Jung Hebe und Transporttechnik Gmbh. Компания Jung Hebe und Transporttechnik Gmbh основана в 1972 году и в настоящее время производит специальные гидравлические домкраты грузоподъемностью до 50 тн, гидравлические цилиндры, роликовые транспортные тележки (системы) для перемещения тяжелых грузов до 200 тн, самоходные тележки с пневматическим и электрическим приводом до 25 тн. Недавно освоено производство мягких пневматических подъемных цилиндров и подушек. Наша компания является эксклюзивным представителем компании Jung в России начиная с 2005 года.
Каталоги фирмы в PDF формате можно скачать здесь…
Jung-Econ Line.pdf
Katalog Hydr Cylinder 2018 Jung.pdf
Katalog JDC Carrier Jung 2018.pdf
Katalog Lifting bags Jung 2018.pdf
Katalog Transport systems 2018-19 JUNG.pdf
Домкраты гидравлические серии JH-G plus
|
 |
|
 |
|
| JH 6 G plus |
JH 10 G plus |
JH 20 G plus
|
|
|
| Тип |
JH6G plus |
JH10G plus |
JH15G plus |
JH20G plus |
| Г/п, кг |
6000 |
10000 |
15000 |
20000 |
| Ход поршня, мм |
140 |
150 |
175 |
190 |
| h1, мм |
12 |
15 |
20 |
20 |
| h2, мм |
157 |
180 |
205 |
225 |
| V, мм |
6х29 |
5х41 |
5х46 |
5х51 |
| H1, мм |
245 |
275 |
310 |
340 |
| Lb, мм |
50 |
60 |
70 |
80 |
| nL, мм |
59 |
54 |
70 |
66 |
| L2, мм |
326 |
346 |
401 |
425 |
| L1, мм |
311 |
330 |
401 |
405 |
| B, мм |
233 |
247 |
322 |
322 |
| H2, мм |
280 |
310 |
310 |
340 |
| Vцилиндра, см3 |
176 |
300 |
495 |
731 |
| Вес, кг |
23 |
29 |
48 |
60 |
|
|
|
|
Домкраты гидравлические серии JH-P
|
 |
|
|
| JSET 13/2 |
JSET 30/2 |
JSET 50/2 |
| составкомплекта |
JSET 13/2 |
JSET 30/2 |
JSET 50/2 |
| Домкрат |
1 х JH13P |
1 х JH30P |
1 х JH50P |
| Шланг |
1 х JS2 |
2 х JS2 |
2 х JS3 |
| Насос |
1 х JP26 |
1 х JPE30 NVR |
1 х JPE 55 NVR |
| Тележка |
- |
1 х JRS 1 |
1 х JRS 1 |
|
|
|
|

| Тип |
JH13P |
JH30P |
JH50P |
| Г/п, кг |
13.000 |
30.000 |
50.000 |
| Ход поршня, мм |
160 |
200 |
250 |
| h1, мм |
18 |
25 |
35 |
| h2, мм |
135 |
185 |
275 |
| H1, мм |
303 |
455 |
542 |
| Lb, мм |
60 |
105 |
100 |
| nL, мм |
50 |
70 |
85 |
| L2, мм |
170 |
255 |
350 |
| B, мм |
210 |
305 |
380 |
| H2, мм |
463 |
655 |
792 |
| Vцилиндра, литр |
0,4 |
1,13 |
2,51 |
| Вес, кг |
15 |
51 |
105 |
|
 |
- Домкраты серии JH-P имеют небольшой вес при большой грузоподъёмности.
- Сдвоенный гидроцилиндр препятствует заеданию штока при подъёме-опускании груза.
- Возможность поворота опорной ноги позволяет более устойчиво установить домкрат.
- Домкраты серии JH-P работают от выносного ручного или электрического насоса.
|
|
|
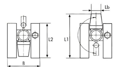
Гидравлические системы JHS
|
 |
 |
| JSET 10/2 |
JSET 20/3 |
|
Возможно вращение домкрата вокруг оси на 180° Благодаря выносному насосу возможно использование домкрата в горизонтальной плоскости. |
 |
 |
|
 |
| Тим домкарата |
JHS 5 |
JHS 10 |
| Грузоподъёмность, кг |
5000 |
10000 |
| h1, мм |
15 |
20 |
| h2, мм |
245 |
300 |
| Н1, мм |
350 |
400 |
| Н2, мм |
580 |
680 |
| Lb, мм |
45 |
60 |
| nl, мм |
40 |
50 |
| d, мм |
55 |
75 |
| L2, мм |
170 |
205 |
| L1, мм |
220 |
250 |
| B, мм |
145 |
200 |
| Вес, кг |
9,9 |
17,7 |
|
|
Тип комплекта
|
JSET 10/2
|
JSET 20/3
|
| Домкрат |
2xJHS5 |
2xJHS10 |
| Гидравлический рукав |
2xJS2 |
2xJS3 |
| Насос |
JP15 |
JP15 |
|
|
|
Cистемы для перемещения грузов 3 -120 тонн - JUNG (Германия)
|
|
|
|